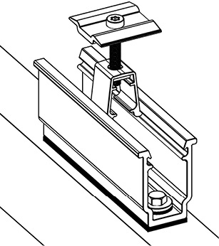
Hersteller Ambivolt stellt nun Ambi-U vor, ein tragfähiges U-Profil mit integriertem Click-Kanal, das sowohl als Aufsatzteil für Stockschrauben als auch für die Direktmontage auf Trapezblech verwendet werden kann. Ambivolt bietet fertig konfektionierte Welldachsets mit M10- oder M12-Stockschraube und vormontiertem Aufsatzteil Ambi-U an. Anders als bei anderen Stockschraubenlösungen ist das Tragprofil auf der gesamten Länge des Welldachsets frei verschiebbar.
Dies erlaubt einerseits einen größeren Ausgleich von Toleranzen bei der Montage und hat andererseits statische Vorteile: Durch die freie Positionierbarkeit des Profils, beispielsweise auch direkt über der Stockschraube, wird eine höhere Tragfähigkeit erreicht. Auch bei bereits verschraubter Stockschraube ist mit Ambi-U bei Bedarf ein nachträglicher Höhenausgleich von bis zu 25 Millimeter möglich.
Das Modultragprofil wird mit einem Click-Kreuzverbinder durch das Anziehen von nur einer vormontierten Schraube sicher auf dem Ambi-U-Welldachset befestigt. Ambi-U kann auf Wunsch auch einzeln bezogen und auf Stockschraubensets oder Solarbefestigern von Fremdherstellern montiert werden.
Ambivolt Energietechnik
84140 Gangkofen
Telefon (089) 15 92 78 05
 
     
 
